之前我們談論過如何購買阿里云
云服務器ECS,選擇什么樣的鏡像,推薦選擇CentOS系統中最新的7.7.64位版本,如此一來,在CentOS系統里安裝wdcp管理面板就非常合適了,但wdcp面板會經常出問題,一些讓你感到很棘手的問題,下面我就說幾個經常會遇到的:

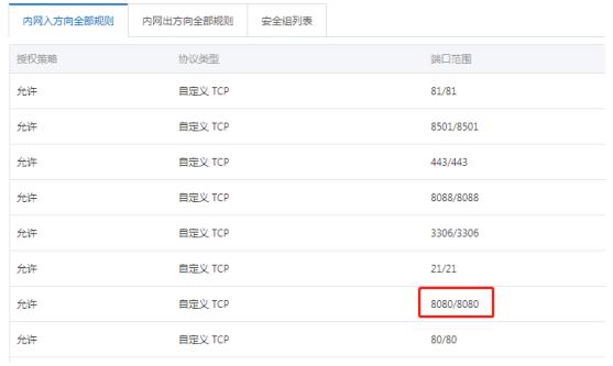
1.安裝后,發現http://ip:8080/無法打開,這個問題比較簡單,進入阿里云賬號,找到該云服務器,點擊”本實例安全組”,如下圖所示,看看有沒有8080端口,沒有的話添加上就行:
Mysql數據庫無法連接的問題:剛開始覺得Mysql數據庫無法連接,重新啟動一下數據庫就好了,但發現Mysql提示重啟失敗,這樣就需要修改Mysql的配置文件了,用root和實例密碼,連接sftp,找到/www/wdlinux/etc/my.cnf文件,然后添加一行內容,如下圖所示:

然后再使用service mysqld restart重啟一下mysql服務

遇到MySQL 的 Table xx(表名) is marked as crashed and should be repaired,意思就是說這個表受到損壞了,需要修復,其實這個問題是Mysql服務的問題,與wdcp面板無關,但由于Mysql服務出現問題,會影響網站的使用,所以也要講一下,簡單來講就是使用命令修復整個數據數就行,如下圖所示:登錄數據庫,然后使用mysqlcheck -u root 數據庫名稱 --auto-repair命令進行修改,

以上需要輸入的命令可以使用putty.exe來運行,如下圖所示:

4.
云服務器空間滿了,這個也是常用發生的事情,明明硬盤有40G的空間,網站的文件也只有幾個G而已,怎么用了一兩年就滿了?原來是nginx生成的日志在作祟,找到/www/wdlinux/nginx-1.8.1/logs/,如下圖所示:
看到那個access.log文件,現在已經有8G左右了,當這個文件越來越大時,就會造成服務器磁盤爆滿的情況,所以要定時刪除這個文件就可以了
5.網站打開很慢,并排除是帶寬的問題,這就有可能是執行久了內存不足導致的,可以進入WDCP面板釋放內存,如下圖所示:
也可以在”系統設置”->”計劃任務”里,導入自動釋放內存的命令
本文題目:配置阿里云服務器wdcp管理面板你可能會遇到的一些棘手問題
網站路徑:http://m.js-pz168.com/news38/242338.html
網站建設、網絡推廣公司-創新互聯,是專注品牌與效果的網站制作,網絡營銷seo公司;服務項目有云服務器等
廣告
聲明:本網站發布的內容(圖片、視頻和文字)以用戶投稿、用戶轉載內容為主,如果涉及侵權請盡快告知,我們將會在第一時間刪除。文章觀點不代表本網站立場,如需處理請聯系客服。電話:028-86922220;郵箱:631063699@qq.com。內容未經允許不得轉載,或轉載時需注明來源:
創新互聯